Details of Ferrari’s first production electric vehicle, arriving by 2025, appear to have been revealed in a series of patents leaked online.
A series of sketches and accompanying data, first discovered by US site Taycan EV Forum, suggest that Maranello’s first electric car will be a low-riding GT that could rival the Porsche Taycan and upcoming Tesla Roadster.
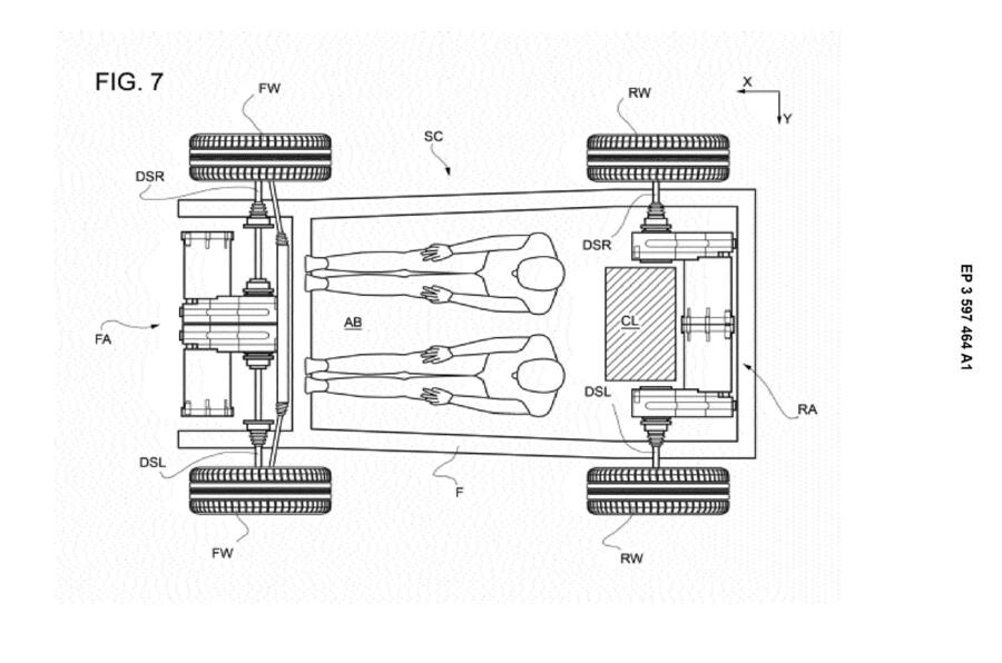
A plan view shows the EV is likely to feature a two-seat or 2+2 layout, a long bonnet and short overhangs, much like the firm’s 812 Superfast flagship.
Also shown are details of the model’s four-wheel-drive powertrain, showing that an electric motor will be mounted to each wheel, and will apparently be capable of operating independently, perhaps allowing for the ability to rotate on the spot. Precise technical data and performance details remain unconfirmed.

A Ferrari spokesperson was unable to comment on the patent applications.
Ferrari’s first electric car is likely to use technology taken from the new SF90, which pairs a 4.0-litre twin-turbo V8 with a trio of electric motors for a combined power output of 986bhp - making it Ferrari’s most powerful road car yet.
At the SF90’s launch last year, Ferrari CEO Louis Camilleri called it “the first step in a direction that Ferrari will enter in unwavering focus and confidence”.
In August 2019, the firm’s chief technology officer Michael Leiters explained to Autocar that keeping weight down and ensuring a high top speed were priorities for any Ferrari EV.
“Right now, the technology is not mature enough”, he said. “Look at customer requirements: the most important thing is sound. Today, there is also a problem on range, which for a sports car really is a problem. The range of an electric car is especially so if you accelerate or go with high speed.”
Read more
SF90 Stradale hybrid is most powerful Ferrari road car yetâ
Ferrari tech boss on EVs, V12s and next LaFerrariâ


Join the debate
Add your comment
Patents
Easy to find this patent on the Euro patent office site. it's a US registered patent, number 2020023734.
There's a lot of detail in the main claim covering electric motor or hybrid motor, gearbox and axle arrangements.
The fact that this patent has been filed by Ferrari does not necessarily they will use all, or any of the technical deatil described in the patent in future models.
They are simply protecting technology that they have invested in
I've explained this before on this forum on previous similar articles, but Autocar seems to think that any patent publication must prescribe the manufacturers' future products to the detail
.
They are drawings not sketches...